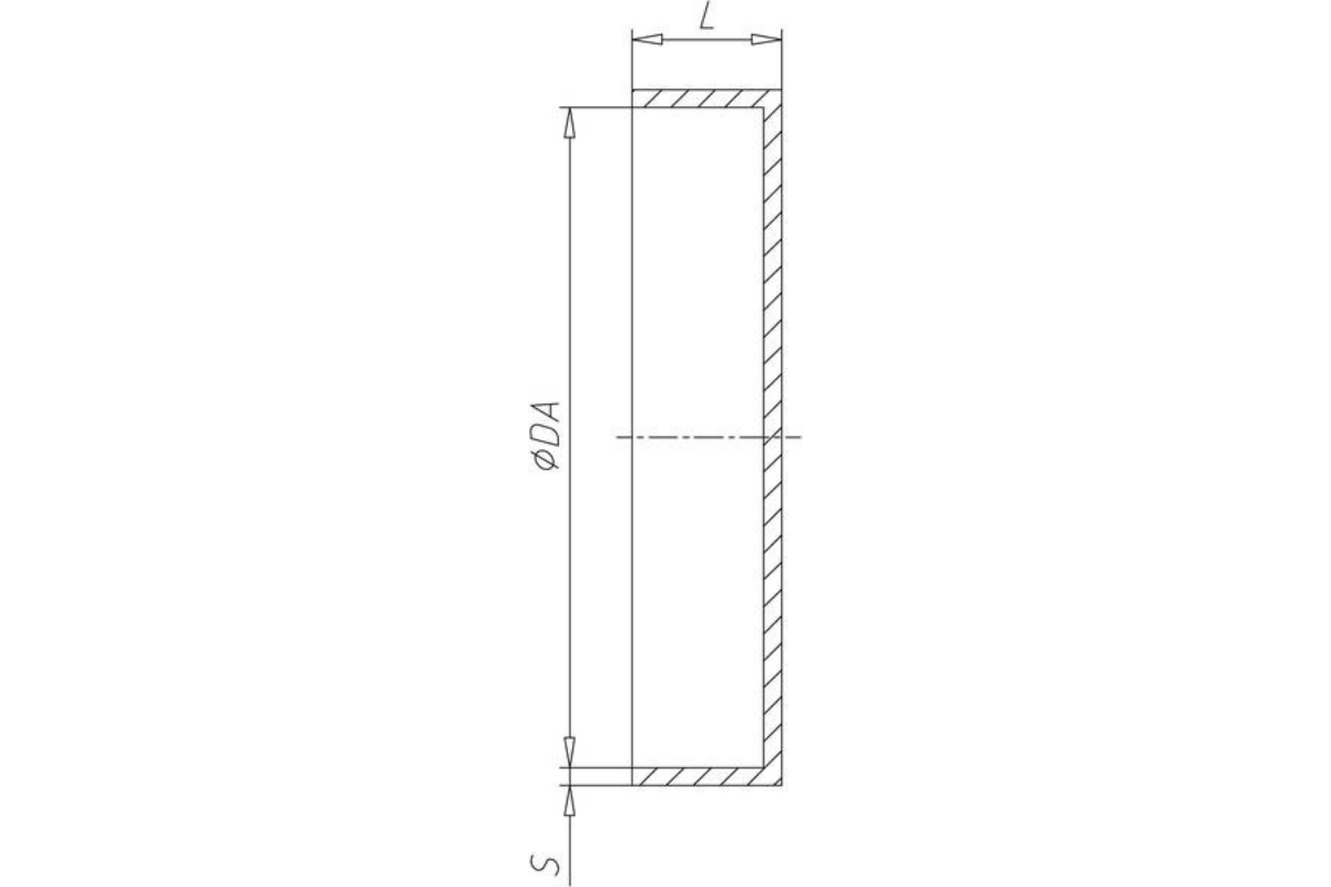
Sonlandırma Kapağı
HOKA uç tabanı kalıplanmış plastik parça, yuvarlak, egzoz sistemindeki boruları kaynakla bağlamak için iç durdurucu özelliğine sahiptir. DIN 8062'ye uygun iç soket çapı. Üretim süreci: Ø 75 ila 400 mm enjeksiyon kalıplama, Ø 450 mm'den itibaren yarı mamullerden üretilir. Mekanik, kimyasal ve termal yüke göre talep üzerine olası negatif aşırı basınça dirençlidir.
Ürün Seçenekleri
Malzeme Seçenekleri
- PVC - PVC Beyaz
- PP
- PP-H
- PE-HD
- PP-EL-s
- PVDF
Ürün Açıklama
Havalandırma sistemlerinde termoplastik polimerlerin kullanılması uzun bir geçmişe sahiptir. Özellikle işlenebilirlik, kimyasal direnç ve ekonomiklik açısından olumlu deneyimler sayesinde uzun yıllardır uygulama alanları giderek genişledi.
Her bir plastik malzemenin mükemmel özellikleri sayesinde plastikten imal edilmiş havalandırma sistemleri hemen hemen tüm alanlarda kullanılabilmektedir.
Klasik kullanım alanları:
- Laboratuarlar
- Kimya endüstrisi
- Temiz oda endüstrisi
- Yüzey işleme (asit banyosu, galvanizleme)
- Hastaneler
- Klor Endüstrisi
Avantajları:
- Agresif maddelere karşı kimyasal direnç
- Düşük ağırlık
- Korozyon direnci
- Ekonomiklik
- İnsan ve çevre için daha az tehlike
- Daha düşük bakım maliyetleri
- Çevre koruma


